Apple patenta un nuevo sistema para proteger los iPhone contra líquidos

La Oficina de Patentes y Marcas de Estados Unidos ha otorgado una nueva patente a los de Cupertino. Esta vez se trata de un nuevo y curiosos sistema para proteger el iPhone contra el agua y otros líquidos que pueden perjudicar al dispositivo.
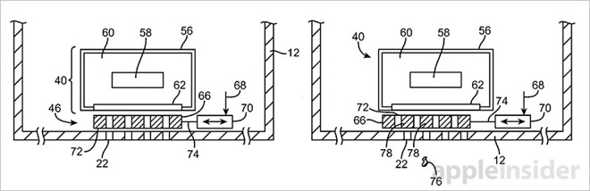
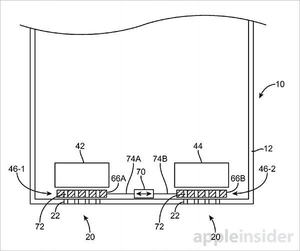
El sistema se basa en un mecanismo de persianas o obturación. Las persianas se podrían aplicar a casi cualquier abertura en un iPhone; en la ranura para los auriculares, el puerto de conexión lightinig, la ranura de la targeta nanoSIM, etc. El documento entra en detalles en las estructuras superiores de riesgo como un altavoz con auricular o un micrófono, que en los diseños actuales sólo tienen un pie de malla fina entre ellos y los elementos.

En la práctica, varias persianas están instaladas para alinearse con las aberturas en una carcasa de un dispositivo. En un iPhone 6s, por ejemplo, el conjunto de persianas de protección del altavoz contaría con seis de ellas, una para cada agujero. La idea es sellar la cámara de aire del dispositivo cuando un altavoz no está en uso, evitando así la entrada de líquido, polvo y otros contaminantes.
En algunas partes, las persianas deberían ser curvas para ajustarse a la pared dispositivo, ya que en las dos ultimas generaciones de iPhone (iPhone 6 y iPhone 6s) cuentan con bordes redondeados. Junto a la persiana se aplicaría junta tórica de silicona para lograr un cierre hermético del aire.

Apple también propone la instalación de módulos de detección para detectar la presencia de humedad, los contaminantes en el aire y otras condiciones ambientales potencialmente perjudiciales que justifiquen un cambio de estado de abierto a cerrado, o viceversa. Las persianas podrían mantenerse completamente cerradas y solo abrirse en caso de llamada o de alerta de una notificación. Alternativamente, las persianas, naturalmente, podrían mantenerse completamente abiertas, y cerrarse en caso de amenaza.
Las persianas de se podrían controlar mediante comandos de voz en Siri o mediante los ajustes del dispositivo. Apple también contempla la implantación de un interruptor externo para actuar como un control manual, útil para la conservación de energía. Quizás funcionaria cómo el iPad, podrías modificar el uso del interruptor de sonido.
La solicitud de patente de Apple fue presentada por primera vez en mayo de 2014 y acredita Sungchang Lee, Kee Suk Ryu y Ki Myung Lee como sus inventores.
Vía Appleinsider