Wearables
Google adquiere tecnología «secreta» de Fossil para crear un nuevo smartwatch que pueda competir con el Apple Watch

No es ningún secreto que la plataforma de wearables de Google hace aguas. Un cambio de nombre y enfoque reciente, un procesador que llega tarde y apenas cumple, unido con unos fabricantes que miran el mercado con recelo constituyen los principales problemas de Wear OS para competir con el Apple Watch. Como añadido, otras plataformas como la de Samsung o Fitbit están consiguiendo más avances aunque sin despegar del todo.
Leer el resto de esta entrada »
El Apple Watch ya es un negocio más grande de lo que llegó a ser el iPod

Con la revisión a la baja de los resultados financieros que Apple ha hecho estos días, han salido a la luz algunos datos interesantes que no conocíamos hasta ahora y nos pueden dar más pistas sobre la situación de Apple. Uno de esos datos tiene que ver con el Apple Watch, que va camino de convertirse en uno de los pilares en los ingresos de Apple trimestre tras trimestre.
Leer el resto de esta entrada »
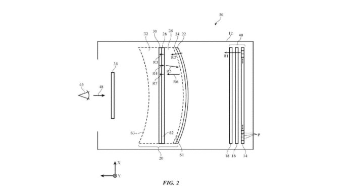
Apple patenta unas lentes para gafas de realidad aumentada

Hace unas semanas, se filtró que Apple está trabajando en unas gafas de realidad aumentada. De momento, se sabe muy poco sobre este dispositivo, pero una nueva patente sugiere que será muy ligero.
Leer el resto de esta entrada »
- 1
- 2
- …
- 13
- Siguiente →