Apple patenta un sistema de carga manual y otro de detección de roturas en la pantalla

Recientemente, han aparecido dos patentes registradas por Apple que siguen alimentando los rumores sobre el próximo iPhone, y ambas nos describen funciones interesantes. Un sistema de cara manual para el iPhone y el Apple Watch por una parte, y la detección de roturas en la pantalla del iPhone por otra.

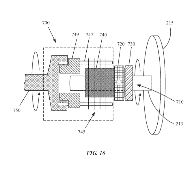
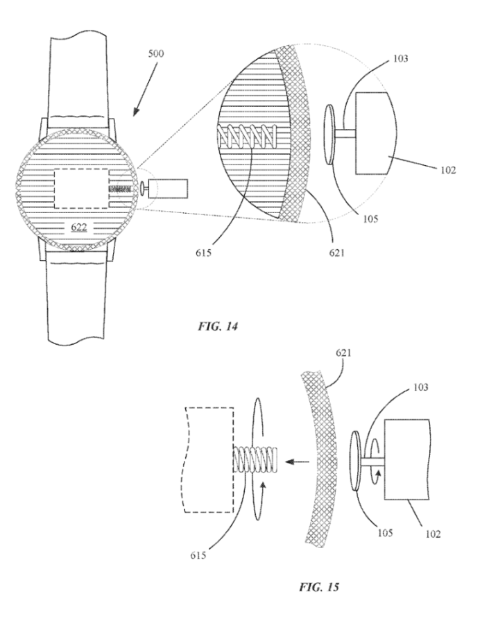
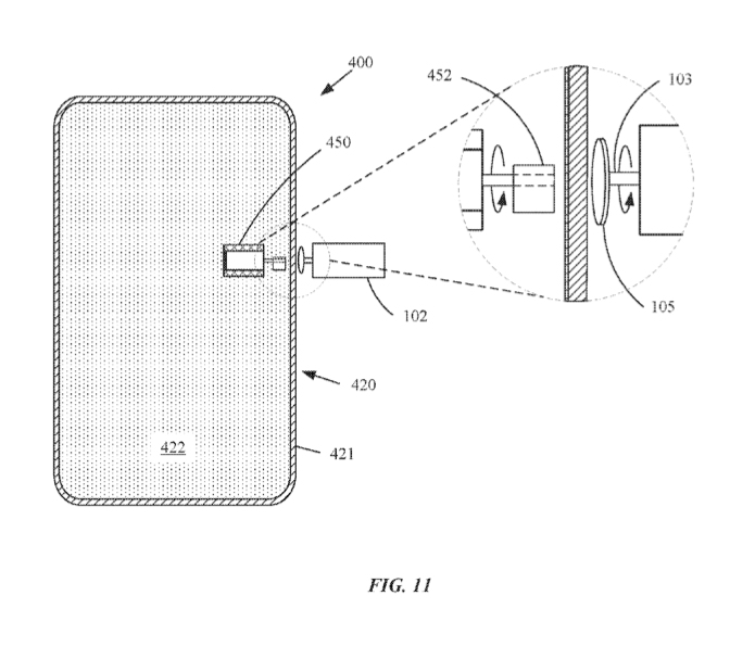
Empecemos con el sistema de carga manual, patente en la que Apple «hereda» los mecanismos de los relojes de pulsera tradicionales. La idea es que en cualquier momento nosotros podamos girar una rueda que a su vez movería un pequeño generador situado en el interior del dispositivo. La mitad del trabajo ya está hecho: el Apple Watch luce una estupenda corona digital en su lateral.

La rueda movería unas ruedas dentadas que ayudarían a crear energía con el generador, que luego podría almacenarse en la batería del dispositivo. En el Apple Watch sería cuestión de hacer hueco para ese generador, y en el iPhone además de eso habría que insertar la rueda en el lateral del dispositivo. ¿Lo ves descabellado? Pues no lo hagas, porque ya hay otra patente que lo contempla.
Si la batería del Apple Watch o el iPhone se agotan en momentos delicados, podríamos girar esa rueda nosotros mismos para cargarla.
El iPhone es un dispositivo que requiere mucha energía, así que no sé yo cuánto tiempo tendríamos que estar girando una rueda de medio centímetro de diámetro para cargar el teléfono. En Apple deben de valorar la ventaja que no haría falta ningún accesorio o acceso a enchufes para hacer eso.

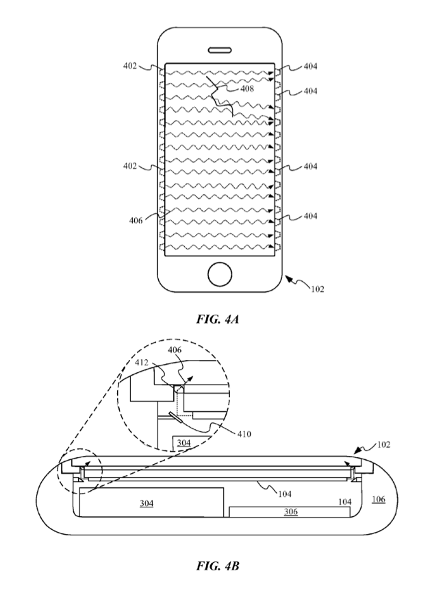
La otra patente que ha surgido describe una serie de sensores que, mediante micro-vibraciones o pulsaciones de luz, detectarían grietas y roturas en la pantalla del teléfono. La interfaz de iOS podría incluso señalarnos la rotura gráficamente, algo que podría ser muy útil en el caso de que esa grieta sea tan fina que casi pase desapercibida. Esas grietas, con el tiempo, pueden convertirse en roturas mucho mayores.
En el documento se describen algunas ventajas como la posibilidad de crear un «historial de uso» para ayudar a los ingenieros a comprender cómo y cuánto se rompen las pantallas de los iPhone, para así en un futuro fabricar modelos del teléfono mucho más resistentes.

El hecho de que iOS se de cuenta de que la pantalla esté rota me hace pensar además en que se podría automatizar el proceso de llevarla a reparar, ofreciendo citas en la Genius Bar o en cualquier otro servicio autorizado de Apple en la zona. Si la rotura es grave, incluso iOS podría «presionar» al usuario con avisos gráficos para que lo lleve a reparación.
Siendo patentes nunca sabremos si esto llegará a hacerse realidad, aunque de ser así seguro que no lo veremos como mínimo hasta dentro de dos años. Como siempre, os recordamos que las patentes no confirman necesariamente nada más allá de los experimentos que los ingenieros hacen en los laboratorios de Apple.