patentes
Apple patenta un iPhone que se dobla por la mitad

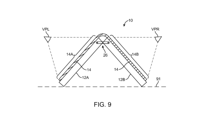
Apple lleva años investigando la flexibilidad para sus teléfonos iPhone, o al menos eso es lo que sugiere una patente a nombre de la compañía. Descubierta por Apple Insider, la patente describe un iPhone que se puede doblar a la mitad para facilitar su almacenamiento cuando no está en uso. El iPhone se podría doblar gracias a varios componentes, pero principalmente al nitinol, una aleación de níquel y titanio.
Leer el resto de esta entrada »
Una nueva patente de Apple da pistas sobre cómo serán los próximos AirPods
Los próximos AirPods podrían incluir sensores biométricos.

Aún no ha llegado la primera generación a las tiendas y ya se está empezando a hablar de cómo pueden evolucionar en el futuro los AirPods, la apuesta de Apple por la popularización de los auriculares inalámbricos que debería haber acompañado al iPhone 7 en su lanzamiento.
Leer el resto de esta entrada »
- ← Anterior
- 1
- …
- 8
- 9
- 10
- …
- 19
- Siguiente →
